打造“鸿蒙宇宙”?曝华为已申请400多条相关商标

企业
TIME
2022-07-28 16:44
凤凰网科技
分享

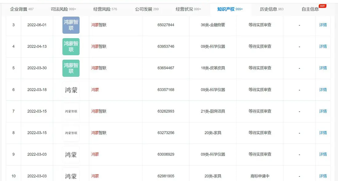
  凤凰网科技讯 北京时间7月28日,天眼查App显示,目前,华为技术有限公司已申请430多条鸿蒙相关中英文商标,包括鸿蒙、鸿蒙 OS、HARMONY、HARMONY LINK、鸿蒙至尊、鸿蒙操作系统、鸿蒙元服务等,其中180余条已完成注册。昨天,华为召开HarmonyOS 3及华为全场景新品发布会,余承东称,华为鸿蒙设备数突破3亿。

  据悉,所有商标申请信息中,最早的一条“鸿蒙”商标申请于2012年12月,不过该商标已处于无效状态;最晚的商标申请于今年7月20日,分别为“鸿蒙元服务”“鸿蒙元程序”,两商标国际分类均为科学仪器。

image.png

  7月27日,华为正式发布HarmonyOS 3,首批适配的产品包括华为的P50系列、Mate40系列、Mate50系列以及华为MatePad Pro 12.6英寸2021款等。

  据华为介绍,HarmonyOS 2自去年发布以来,版本升级率达77%。截至目前,搭载HarmonyOS 2的华为设备已经突破3亿台。余承东表示,HarmonyOS 3将于9月启动规模升级。同时,搭载HarmonyOS智能座舱的首款纯电车型——AITO问界M5 EV也将于9月份正式发布。


THE END
免责声明:本文系转载,版权归原作者所有;刊载之目的为传播更多信息,如内容不适请及时通知我们。

相关热点

  共享数字化红利,上虞区举办老年人智能手机培训  时代进步,科技的发展,手机成为每个人生活中不可或缺的一部分。农村里的留守老人也逐步换上了智能手机,但他们文化程...
专栏
  科技与文化如车之两轮、鸟之两翼,历来是推动人类文明进步的两大动力。  7月26日,在首届北京文化论坛以“创新·赋能·发展”为主题的文化与科技融合发展分论坛上,《...
业界

相关推荐

1
3